Skip To The Main Content

Wide Roller Offset Type (Style RWO) - Limit Switch Levers


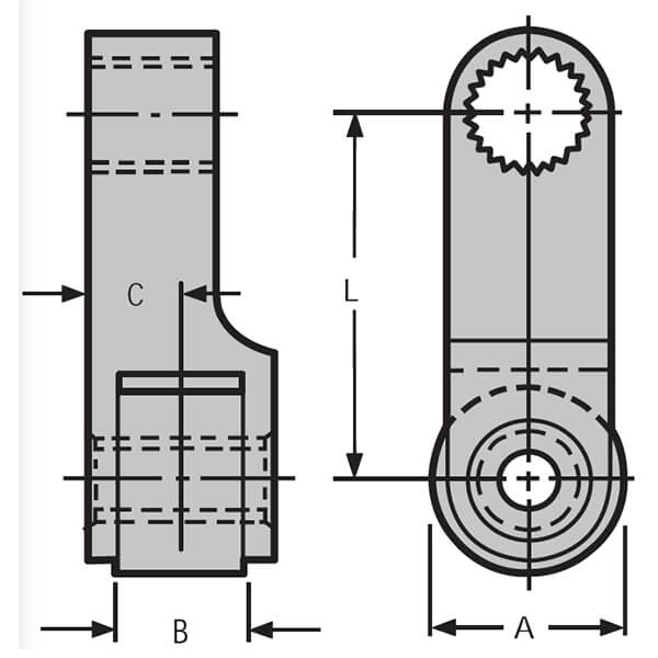
Lever provides straddle-type support for wide roller, which is offset from serrated lever hub. Side toward switch is machined straight.

Compatible Namco Limit Switch Series: EA040, EA060, EA080, EA170, EA700, EA710, EA730, EA760, EA770, EA780, EA790, EA800, EA880, EA990 only.


Ordering Numbers L A B C Material
Part Number Reference  Lever Roller
EL080-53329 D1260R 1-1/2" 3/4" 1/2" 3/8" Mang. Br. Steel
EL080-53321 D1260CS 1-1/2"
3/4" 1-1/8" 3/4" Mang. Br.
Steel
EL080-53932 D1260P 1-1/2"
1-1/2"
1/2" 3/8" C.R.S. Steel
EL080-55323 D1260FR 2" 3/4" 1/2" 3/8" C.R.S.
Steel
EL080-54905 D1260DD 2 1-1/2" 1/2" 3/8" C.R.S.
C.R.S.
EL080-56301 D1260AH 2-1/2" 3/4" 1/2" 3/8" C.R.S.
Steel
EL080-56305 - 2-1/2" 3/4" 1/2" 3/8"
C.R.S.
Bryl. Cop.
EL080-58322 D1260GN 3" 3/4" 1/2"
3/8"
C.R.S.
Steel
EL080-58901 D1260DE 3" 1-1/2" 1/2"
3/8"
C.R.S.
Steel
EL080-58906 D1260DZ  3-1/2"  1-1/2"  1/2" 3/8" C.R.S.  Steel 
EL080-58909
D1260HA  4"  1-1/2"  1/2" 3/8" C.R.S.  Steel 
EL080-50924
D1260BS 6"   1-1/2"  1/2"  3/8" C.R.S.  Steel 

*On Series EA040/060/080/170, Lever will not clear top of switch when mounted with Roller facing rear.

Check Namco limit switch series compatibility before ordering.

style-rwo-levers-diagram